К списку заданий по инженерной графике
В начало
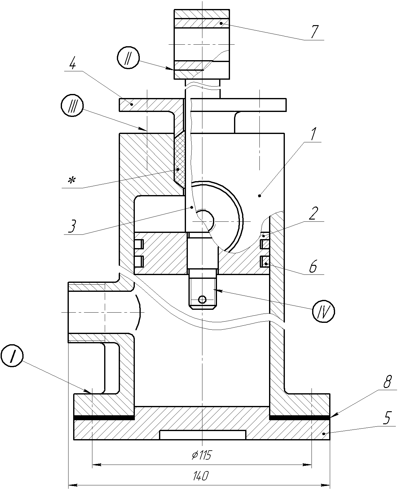
Вариант 11 - Цилиндр
![]() |
||||
| № | Обозначение | Наименование | Кол. | Материал |
|---|---|---|---|---|
| 1 | КИКГ.020611.001 | Корпус | 1 | Чугун |
| 2 | КИКГ.020611.002 | Поршень | 1 | |
| 3 | КИКГ.020611.003 | Шток | 1 | |
| 4 | КИКГ.020611.004 | Крышка сальника | 1 | |
| 5 | КИКГ.020611.005 | Крышка | 1 | |
| 6 | КИКГ.020611.006 | Кольцо поршневое | 2 | |
| 7 | КИКГ.020611.007 | Втулка | 1 | |
| 8 | КИКГ.020611.008 | Прокладка | 1 |
При понижении давления поршень опускается незначительно, не препятствуя проходу
воздуха через боковые отверстия из запасного резервуара в тормозной цилиндр. При
повышении давления поршень опускается вниз. В этот момент воздух поступает из
тормозных цилиндров в атмосферу, а из воздушной магистрали в запасные резервуары.
Поршневые кольца 6, изготовленные из чугуна, служат для уплотнения поршня. По
ршень 2 закреплен на штоке 3 с гайкой, шайбой и шплинтом.
В корпусе 1 в месте выхода штока 3 расположено уплотняющее устройство (сальник),
предупреждающее просачивание воздуха через зазор между штоком и отверстием в крышке
сальника 4. Материалом для набивки может служить пенька, льняной шнур, асбест.
Благодаря упругости материала набивки и конусам у торцов уплотнения набивка плотно
прижимается к штоку, поэтому необходимо периодически уплотнять его. Это достигается
подтягиванием шпилек 11.
Крышка 5 и корпус 1 соединяются болтами. Втулка 7 и шток 3 крепятся установочным винтом.
| СОЕДИНЕНИЯ, КОТОРЫЕ СЛЕДУЕТ ДОКОНСТРУИРОВАТЬ И ИЗОБРАЗИТЬ НА ЧЕРТЕЖАХ: | ||||||
| Соединения | Данные о стандартных деталях, входящих в состав соединения | |||||
|---|---|---|---|---|---|---|
| № | Соединяемые детали | Наименование | Материал | Покрытие | Толщина покрытия | |
| I | Крышка поз.5 с корпусом поз.1 | Болты по ГОСТ 7805-70, резьба М12х1,25; 4шт. | Сталь 35 | Окисное | - | |
| Шайба по ГОСТ 11371-78, исполнение1. | Сталь 20 | Окисное | - | |||
| Гайки по ГОСТ 5927-70, исполнение 1. | Сталь 20 | Окисное | - | |||
| II | Втулка поз.7 со штоком поз.3 с торца в раздел | Винт по ГОСТ 1477-84, резьба М8 | Сталь 30 | Цинковое | 3 мкм | |
| III | Крышка сальника поз.4 с корпусом поз.1 | Шпильки, резьба М10, 4шт | Сталь 40Х | Никелевое | 6 мкм | |
| Шайбы по ГОСТ 6402-70, нормальной толщины | Сталь 65Г | То же | 6 мкм | |||
| Гайки по ГОСТ 5915-70, исполнение 2. | Сталь 35X | То же | 6 мкм | |||
| IV | Поршень поз.2 со штоком поз.3 | Гайка, М16х1,5-6Н по ГОСТ 5918-73 | Сталь 20 | Цинковое | 6 мкм | |
| Шайба по ГОСТ 11371-78 | Сталь 08 | Цинковое | - | |||
| Шплинт по ГОСТ 379-79 (СТ СЭВ 220-75) | Сталь 08 | Цинковое | - | |||
|
Знаком “ * ” отмечен материал "Набивка АД-5 ГОСТ 5152-66”, количество 0,1 кг.
Все составные части указать в спецификации и на чертеже. Hомера позиций нанести в соответствии с требованиями ЕСКД (на карточке-задании это выдержано нестрого). | ||||||