СПбГУИТМО Кафедра инженерной и компьютерной графики

К списку заданий по инженерной графике
В начало

Резьбовые соединения
К списку вариантов по заданию "Резьбовые соединения"

Вариант 09-Насос
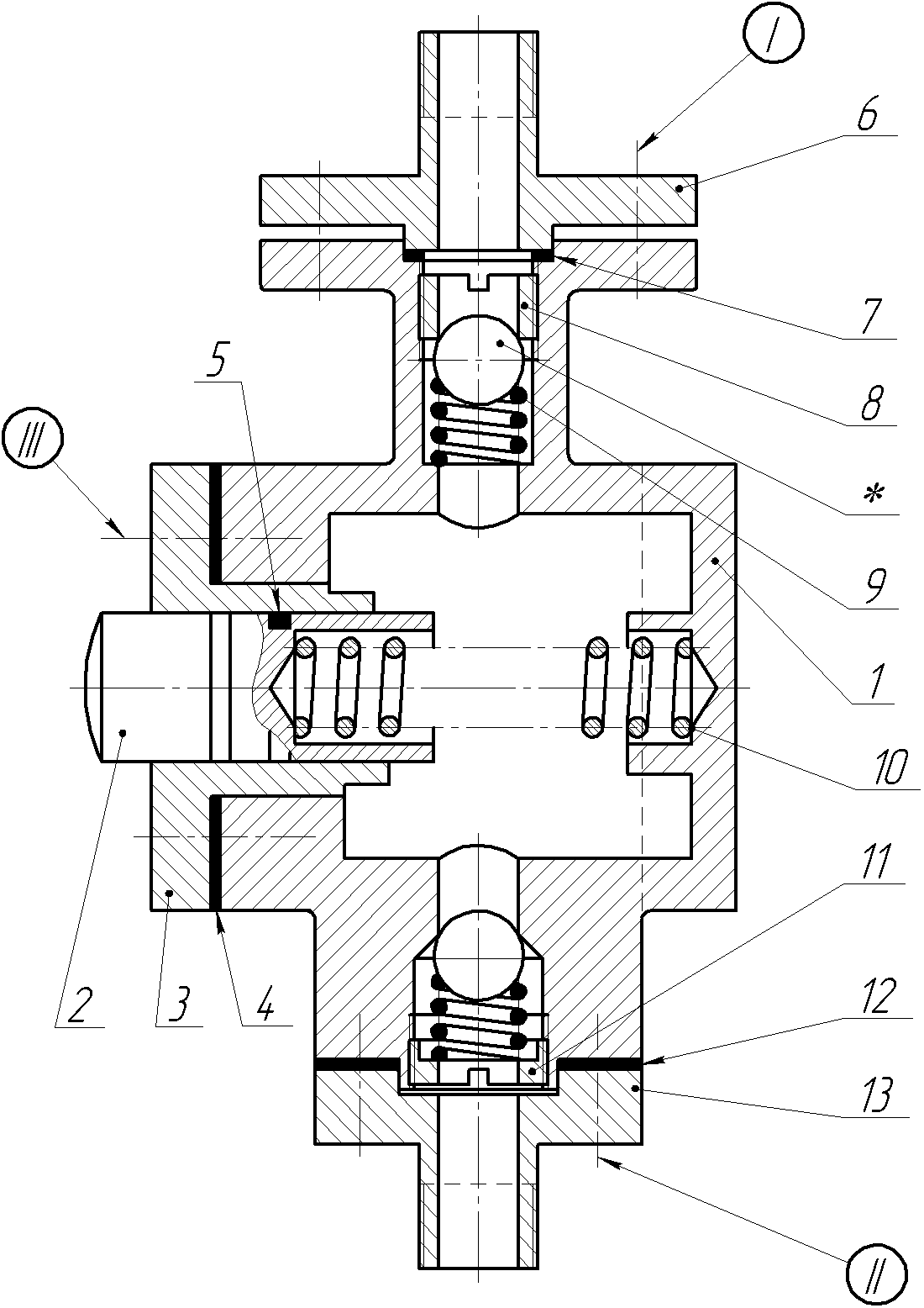
Насос – машина, преобразующая механическую энергию двигателя в механическую энергию состояния жидкости с целью ее подъема, перемещения или получения сжатых газов. В плунжерном насосе перемещение жидкости осуществляется благодаря периодическому изменению объема рабочей полости насоса.
Перечень деталей:
Обозначение Наименование Кол. Материал
1 КИКГ.020609.001 Корпус 1 Чугун
2 КИКГ.020609.002 Плунжер 1
3 КИКГ.020609.003 Крышка 1
4 КИКГ.020609.004 Прокладка 2
5 КИКГ.020609.005 Кольцо 2
6 КИКГ.020609.006 Фланец 1
7 КИКГ.020609.007 Прокладка 2
8 КИКГ.020609.008 Втулка 1
9 КИКГ.020609.009 Пружина 2
10 КИКГ.020609.010 Пружина 1
11 КИКГ.020609.011 Втулка 1
12 КИКГ.020609.012 Прокладка 1
13 КИКГ.020609.013 Фланец 1

Насос состоит из корпуса 1, к которому крепится крышка 3 при помощи шпилек. В крышке 3 установлен плунжер 2, отжимаемый пружиной 10. Фланец 6 прикреплен к фланцу корпуса болтами. Во фланце корпуса установлен всасывающий клапан, представляющий втулку 8, шарик и пружину 9. С нижней стороны корпуса в цилиндрической расточке расположен клапан нагнетательный, состоящий из втулки, шарика и пружины.
При движении плунжера влево в полости корпуса образуется разрежение, и масло из емкости засасывается через фланец 6. При этом шарик всасывающего клапана перемещается вниз, сжимая пружину 9. При движении плунжера вправо увеличивается давление масла в полости корпуса, верхний шарик прижимается к втулке 8 всасывающего клапана и препятствует выходу масла из корпуса, а нижний шарик нагнетательного клапана под давлением масла сжимает пружину и открывает отверстие. Масло через фланец 13 идет в систему. Для предотвращения утечки жидкости между плунжером 2 и крышкой 3 в расточках плунжера установлены кольца 5. Герметизация фланца 6 и корпуса осуществляется прокладкой 7. Уплотнение корпуса и фланца 13 выполнено при помощи прокладки 12.

СОЕДИНЕНИЯ, КОТОРЫЕ СЛЕДУЕТ ДОКОНСТРУИРОВАТЬ И ИЗОБРАЗИТЬ НА ЧЕРТЕЖЕ:
Соединения Данные о стандартных деталях, входящих в состав соединения
Соединяемые детали Наименование Материал Покрытие Толщина
покрытия
1 Фланец поз. 6 с корпусом поз. 1 Болты по ГОСТ 7798-70, резьба М10х1,25; 4 шт. Сталь 30 Фосфатн. с проп. маслом -
Шайбы по ГОСТ 11371-78, исполнение 2. Сталь 10 То же -
Гайки по ГОСТ 5915-70, исполнение 1. Сталь 20 То же -
2 Фланец поз. 13 с корпусом поз. 1 Винты по ГОСТ 1491-80 (СТ СЭВ 2653-80), Резьба М6, 4 шт., степень точности А. Сталь 30 Окисное -
3 Крышка поз. 3 с корпусом поз. 1 Шпильки по ГОСТ . . . (подобрать по материалу корп.), резьба М8, 4 шт. Сталь 35 Кадмиевое 3 мкм
Шайбы по ГОСТ 6402-70, нормальной толщины. Сталь 65Г То же То же
Гайки по ГОСТ 5915-70, исполнение 2. Сталь 20 То же То же
В изделии используется шарик, отмеченный " * " - Шарик диаметром 18 мм ГОСТ 3722-60 – 2 шт.

Все составные части необходимо указать в спецификации и на чертеже.
Номера позиций нанести в соответствии с требованиями ЕСКД (на карточке задания это выдержано нестрого).
В начало страницы
К списку заданий по инженерной графике
В начало