К списку заданий по инженерной графике
В начало
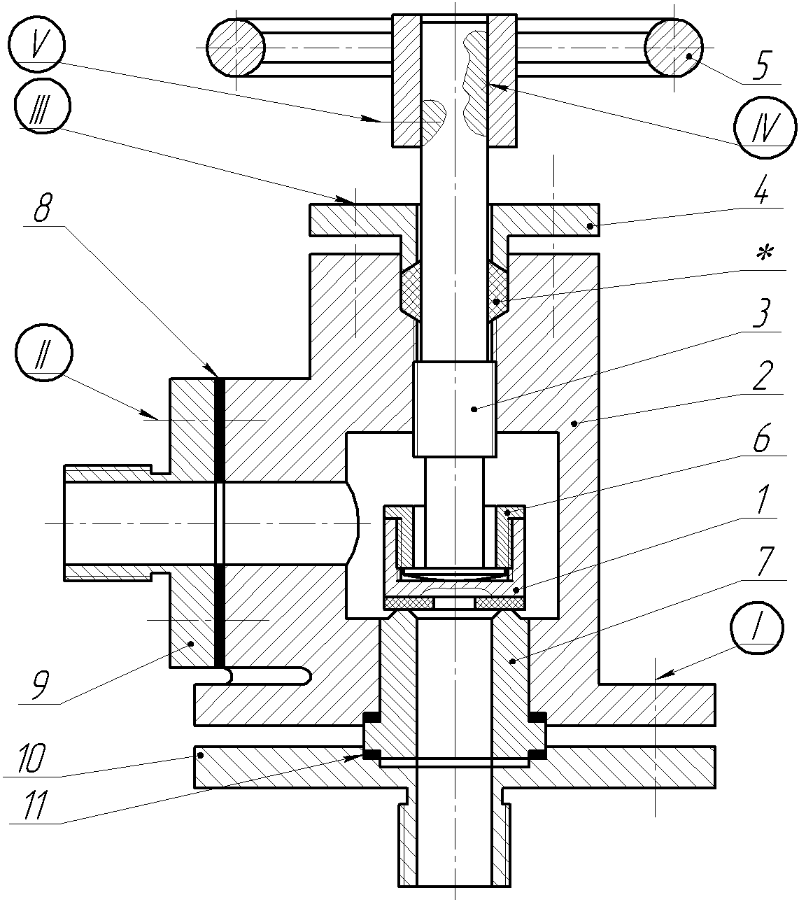
Вариант 6 - Вентиль
![]() |
||||
| № | Обозначение | Наименование | Кол. | Материал |
|---|---|---|---|---|
| 1 | КИКГ.020606.108 | Клапан | 1 | |
| 2 | КИКГ.020606.001 | Корпус | 1 | чугун |
| 3 | КИКГ.020606.002 | Шпиндель | 1 | |
| 4 | КИКГ.020606.003 | Втулка сальника | 1 | |
| 5 | КИКГ.020606.004 | Маховик | 1 | |
| 6 | КИКГ.020606.005 | Втулка | 1 | |
| 7 | КИКГ.020606.006 | Стакан | 1 | |
| 8 | КИКГ.020606.007 | Прокладка | 1 | |
| 9 | КИКГ.020606.008 | Фланец | 1 | |
| 10 | КИКГ.020606.009 | Фланец | 1 | |
| 11 | КИКГ.020606.010 | Прокладка | 2 |
| СОЕДИНЕНИЯ, КОТОРЫЕ СЛЕДУЕТ ДОКОНСТРУИРОВАТЬ И ИЗОБРАЗИТЬ НА ЧЕРТЕЖЕ: | ||||||
|---|---|---|---|---|---|---|
| Соединения | Данные о стандартных деталях, входящих в состав соединения | |||||
| № | Соединяемые детали | Наименование | Материал | Покрытие | Толщина покрытия | |
| I | Фланец поз. 10 с корпусом поз. 2 | Болты по ГОСТ 7798-70, резьба М12х1,25. 4 шт. | Сталь 30 | Окисное | - | |
| Шайбы по ГОСТ 11371-78, исполнение 1 | Сталь 08 | То же | - | |||
| Гайки по ГОСТ 5915-70 исполнения 1 | Сталь 10 | То же | - | |||
| II | Фланец поз. 9 с корпусом поз. 2 | Винты по ГОСТ 1491-80 /СТ СЭВ 2658-80/, резьба М8, 4 шт, степень точности В. | Сталь 20 | Фосфатное спропиткой маслом | - | |
| III | Сальник поз. 4 с корпусом поз. 2 | Шпильки, резьба М10,4 шт. | Сталь 20 | Цинков. | 6 мкм. | |
| Гайки по ГОСТ 5915-70, исполнение 2 | Сталь 10 | То же | То же | |||
| Шайбы по ГОСТ 6402-70, нормальной толщины | Сталь 65Г | То же | То же | |||
| На сборочном чертеже выполнить соединение: шпоночное, отмеченное «IV»
(шпонка 6х6х25 по ГОСТ 22360-78); и винтовое, отмеченное «V» (винт по ГОСТ 1478-75, сталь 10, без покрытия).
Материал «Пенька ПС ГОСТ 5152-66» (количество 0,02 кг.) отмечен значком «*». На сборочном чертеже и в спецификации каждая составная часть должна быть отмечена номером позиции. На сборочном чертеже номера позиций следует поставить в строгом соответствии с правилами ЕСКД. | ||||||