К списку заданий по инженерной графике
В начало
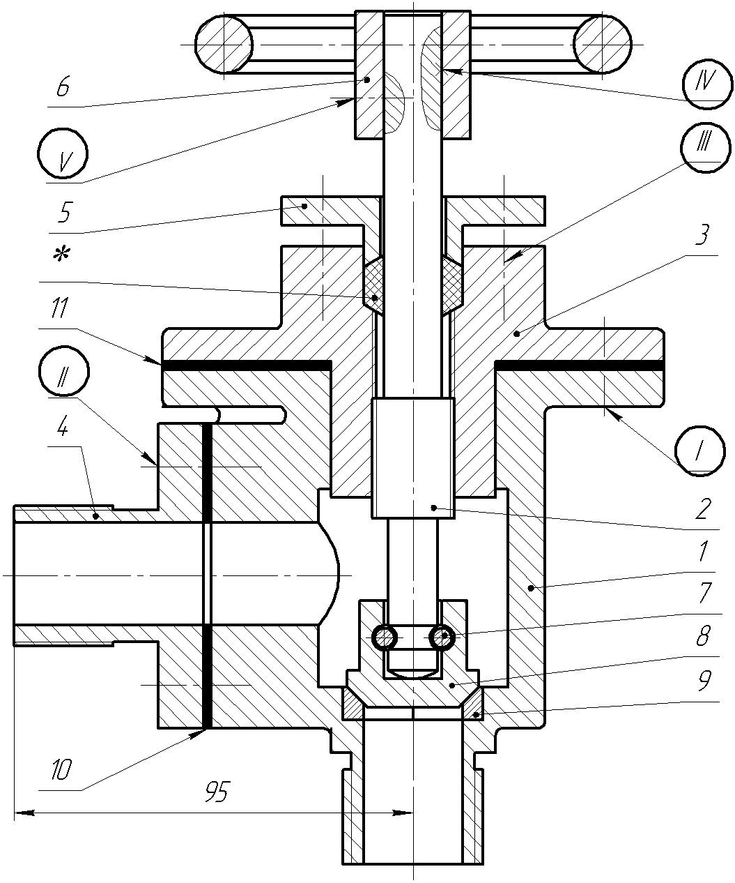
Вариант 5 -Вентиль
![]() |
||||
| № | Обозначение | Наименование | Кол. | Материал |
|---|---|---|---|---|
| 1 | КИКГ.020605.001 | Корпус | 1 | Алюминиевый сплав |
| 2 | КИКГ.020605.002 | Шпиндель | 1 | |
| 3 | КИКГ.020605.003 | Крышка | 1 | |
| 4 | КИКГ.020605.004 | Фланец | 1 | |
| 5 | КИКГ.020605.005 | Втулка сальника | 1 | |
| 6 | КИКГ.020605.006 | Маховик | 1 | |
| 7 | КИКГ.020605.007 | Скоба | 1 | |
| 8 | КИКГ.020605.008 | Клапан | 1 | |
| 9 | КИКГ.020605.009 | Седло | 1 | |
| 10 | КИКГ.020605.010 | Прокладка | 1 | |
| 11 | КИКГ.020605.011 | Прокладка | 1 |
Вентиль состоит из корпуса 1, на котором установлена крышка 3 при помощи соединения
болтами. В крышке 3 в резьбовое отверстие установлен шпиндель 2. На нижнем хвостовике
шпинделя 2 при помощи скобы 7 закреплен клапан 8, упирающийся конической частью в седло 9,
установленное в корпусе. На верхнем конце шпинделя установочным винтом закреплен маховик 6,
в котором установлена шпонка, передающая вращательное движение шпинделю 2. На крышке 3 закреплена
шпильками втулка сальника 5. которая поджимает сальниковую набивку . Фланец 4 крепится к корпусу при
помощи винтов. На чертеже вентиль изображен в закрытом положении.
Рабочая среда (жидкость или газ) поступает по трубопроводу снизу под клапан. При вращении
маховика 6 шпиндель получает поступательное движение и, поднимаясь вверх вместе с клапаном 8,
открывает отверстие в нижней части корпуса. Жидкость поступает в полость отверстия в корпусе,
а затем по отверстию во фланце 4 переходит в трубопровод системы. Для предотвращения утечки
жидкости между шпинделем 2 и крышкой 3 установлено сальниковое уплотнение. Крышка 3 с корпусом
уплотнена прокладкой 11. Герметизация фланца 4 с корпусом осуществлена прокладкой 10.
| СОЕДИНЕНИЯ, КОТОРЫЕ СЛЕДУЕТ ДОКОНСТРУИРОВАТЬ И ИЗОБРАЗИТЬ НА ЧЕРТЕЖЕ: | ||||||
| Соединения | Данные о стандартных деталях, входящих в состав соединения | |||||
|---|---|---|---|---|---|---|
| № | Соединяемые детали | Наименование | Материал | Покрытие | Толщина покрытия | |
| I | Крышка поз. 3 с корпусом поз. 1 | Болты по ГОСТ 7798-70 резьба М10, 4 шт. | Сталь 30 | Окисное | - | |
| Шайбы по ГОСТ 11371-78,исполнение 1. | Сталь 08 | То же | - | |||
| Гайки по ГОСТ 5915-70 исполнения 1. | Сталь 10 | То же | - | |||
| II | Фланец поз. 4 с корпусом поз. 1 | Винты по ГОСТ 1491-80 (СТ СЭВ 2653-80), резьба М6, 4 шт., степень точности А.. | Сталь 20 | Кадмиевое | 6 мкм | |
| III | Втулка сальника поз. 5 с крышкой поз. 3 | Шпильки по ГОСТ (подобрать по материалу корпуса), резьба М6, 4 шт. | Сталь 35Х | Фосфатное с пропиткой маслом | - | |
| Гайки по ГОСТ 5915-70, исполение 2. | Сталь 20 | То же | - | |||
| Шайбы по ГОСТ 6402-70, нормальной толщины. | Сталь 65Г | То же | - | |||
| На сборочном чертеже выполнить соединения: шпоночное, отмеченное «IV» (шпонка по ГОСТ 23360-78 с размерами 6х6х25) и винтовое, отмеченное «V» (винт по ГОСТ 1478-75, резьба М8, сталь 30, без покрытия).
В состав вентиля входит материал, отмеченный знаком "*", «Пенька ПС ГОСТ 5152-66», в количестве 0,02кг. Все составные части указать в спецификации и на чертеже, номера позиций нанести в соответствии с требованиями ЕСКД (на карточке задания это выдержано нестрого). | ||||||