СПбГУИТМО Кафедра инженерной и компьютерной графики

К списку заданий по инженерной графике
В начало

Резьбовые соединения
К списку вариантов по заданию "Резьбовые соединения"

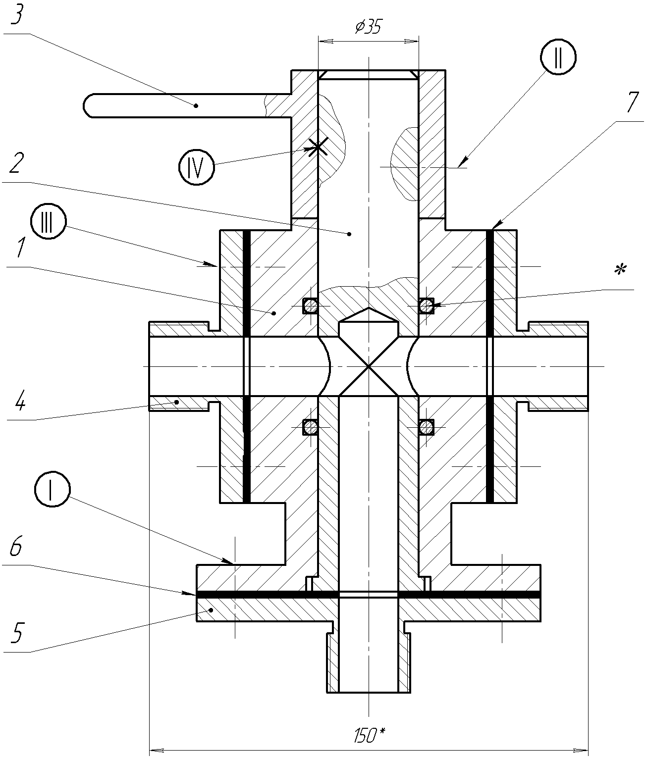
Вариант 4 - Кран распределительный
Кран распределительный предназначен для установки на трубопроводах для обеспечения одновременной подачи жидкости по двум направлениям.
Перечень деталей:
Обозначение Наименование Кол. Материал
1 КИКГ.020604.001 Корпус 1 Чугун
2 КИКГ.020604.002 Пробка 1
3 КИКГ.020604.003 Рукоятка 1
4 КИКГ.020604.004 Фланец 2
5 КИКГ.020604.005 Фланец 1
6 КИКГ.020604.006 Прокладка 1
7 КИКГ.020604.007 Прокладка 2

Кран состоит из корпуса 1, в котором установлена цилиндрическая пробка 2. В пробке выполнено осевое цилиндрическое отверстие, соединяющееся с полостями двух цилиндрических отверстий. на свободный цилиндрический конец пробки установлена рукоятка 3, закрепленная установочным винтом. Для осуществления поворота пробки в нужное положение установлена шпонка, которая передает вращательное движение пробки от рукоятки 3. Фланцы 4 крепятся к корпусу 1 при помощи шпилек. Фланец 5 закреплен на корпусе с помощью болтов. на чертеже кран изображен в открытом положении.
При положении рукоятки 3, указанном на чертеже, жидкость из трубопровода через отверстия в пробке 2 проходит в полости цилиндрических отверстий корпуса и фланцев 4 и поступает к трубопроводам системы. Пробка 2 при повороте на 90° в любую сторону цилиндрической части перекрывает отверстия в корпусе, и жидкость не поступает в трубопроводы. Для обеспечения герметичности пробки 2 установлены резиновые кольца. Фланцы 4 и корпус 1 уплотнены прокладками 7. герметизация фланца 5 и корпуса осуществлена прокладкой 6.

СОЕДИНЕНИЯ, КОТОРЫЕ СЛЕДУЕТ ДОКОНСТРУИРОВАТЬ И ИЗОБРАЗИТЬ НА ЧЕРТЕЖАХ:
Соединения Данные о стандартных деталях, входящих в состав соединения
Соединяемые детали Наименование Материал Покрытие Толщина
покрытия
I Фланец поз. 5 с корпусом поз. 1 Болты по ГОСТ 7805-70 резьба М12х1,25, 4 шт. Сталь 20 Окисное -
Шайбы по ГОСТ 11371-78, исполнение 1. Сталь 08 То же -
Гайки по ГОСТ 5915-70 исполнения 1. Сталь 10 То же -
II Рукоятка поз. 3 с пробкой поз.2 Винт по ГОСТ 1478-84, резьба М10. Сталь 35 Цинковое с хроматированием 6 мкм
III Фланцы поз. 4 с корпусом поз. 1 Шпильки по ГОСТ (подобрать по материалу корпуса), резьба М8х1, 8 шт. Сталь 35 Цинковое с хроматированием 6 мкм
Гайки по ГОСТ 5915-70, исполение 2. Сталь 20 То же 6 мкм
Шайбы по ГОСТ 6402-70, нормальной толщины. Сталь 65Г То же 6 мкм
На сборочном чертеже выполнить шпоночное соединение, отмеченное «IV»: Шпонка 23360-78 с размерами 10х8х40.
В кран распределительный входит стандартное изделие: «Кольцо НI – 0х35 ГОСТ 9833-61», 2 шт.
Каждая составная часть должна иметь самостоятельный номер позиции.
Номера позиций ставятся в строгом соответствии с правилами ЕСКД.
В начало страницы
К списку заданий по инженерной графике
В начало