СПбГУИТМО Кафедра инженерной и компьютерной графики

К списку заданий по инженерной графике
В начало

Резьбовые соединения
К списку вариантов задания "Резьбовые соединения"

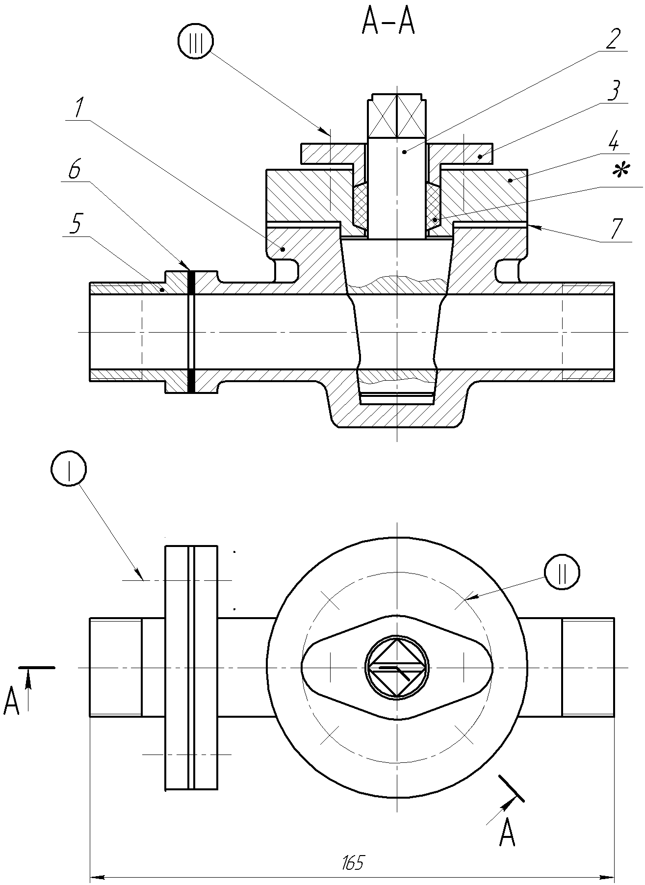
Вариант 2 - Пробковый кран
Пробковый кран предназначен для установки на трубопроводе для подачи жидкости, или для изменения их количества.
ПЕРЕЧЕНЬ ОРИГИНАЛЬНЫХ ДЕТАЛЕЙ ИЗДЕЛИЯ
Обозначение Наименование Кол. Материал
1 КИКГ.020602.001 Корпус 1 Cталь
2 КИКГ.020602.002 Пробка 1 сталь
3 КИКГ.020602.003 Втулка сальника 1 сталь
4 КИКГ.020602.004 Крышка 1 сталь
5 КИКГ.020602.005 Фланец 1 сталь
6 КИКГ.020602.006 Прокладка 1 сталь
7 КИКГ.020602.007 Прокладка 1 сталь
СОЕДИНЕНИЯ, КОТОРЫЕ СЛЕДУЕТ ДОКОНСТРУИРОВАТЬ И ИЗОБРАЗИТЬ НА ЧЕРТЕЖАХ
Соединения Данные о стандартных деталях, входящих в состав соединения
Соединяемые детали Наименование Материал Покрытие Толщина
покрытия
I Фланец поз. 5 с корпусом поз. 1 Болты по ГОСТ 7798-70 резьба М10, 4 шт. Сталь 35 Цинковое 9 мкм
Гайки по ГОСТ 5915-70 исполнения 1. Сталь 20 Цинковое 9 мкм
Шайбы по ГОСТ 11371-78, исполнение 2. Сталь 08 Цинковое 9 мкм
II Крышка поз. 4 с корпусом поз. 1 Винты по ГОСТ 1491-80 (СТ СЭВ 2653-80) 4 шт., резьба М10, степень точности В. Сталь 30 Фосфатное с пропиткой маслом -
III Крышка поз. 4 со втулкой поз. 3 Шпильки, резьба М8, 2 шт. Сталь 20 Кадмиевое с хроматированием -
Гайки по ГОСТ 5915-70, исполнение 2. Сталь 10 То же -
Шайбы по ГОСТ 6402-70, нормальной толщины. Сталь 65Г То же -
На чертеже-задании знаком «*» отмечен материал: «Пенька ПС ГОСТ 5152-66», количество 0,02 кг. Пенька должна быть записана в соответствующий раздел спецификации. В спецификации и на чертеже пенька должна быть отмечена номером позиции.
Номера позиций наносить в соответствии с требованиями ЕСКД.
На главном изображении выполнить разрез А-А.
В начало страницы
К списку заданий по инженерной графике
В начало